ZDLQ、ZDLX系列電子式電動三通調節閥是由3610L列電子式電動執行機構與三通調節機構組成。電動執行機構內有伺服系統,無需另配伺服放大器,有播入信號及電 源可控制運轉,接線簡單。調節機構有合流和分流兩種作用方式,在某些場合可以替代兩個二通閥和一個三通接管而得到廣泛應用。常用于熱交換器的兩相調節及簡單的配比調節。
電動三通調節閥概述
ZDLQ、ZDLX系列電子式電動三通調節閥是由3610L列電子式電動執行機構與三通調節機構組成。電動執行機構內有伺服系統,無需另配伺服放大器,有播入信號及電 源可控制運轉,接線簡單。調節機構有合流和分流兩種作用方式,在某些場合可以替代兩個二通閥和一個三通接管而得到廣泛應用。常用于熱交換器的兩相調節及簡單的配比調節。
電動三通調節閥主要技術參數
公稱通徑 | 25 | 32 | 40 | 50 | 65 | 80 | 100 | 125 | 150 | 200 | 250 | 300 |
閥座通徑mm | 25 | 32 | 40 | 50 | 65 | 80 | 100 | 125 | 150 | 200 | 250 | 300 |
額定KV | 8.5 | 13 | 21 | 34 | 53 | 85 | 135 | 210 | 340 | 535 | 800 | 1280 |
公稱壓力(MPa) | 1.6、2.5、4.0、6.4 | |||||||||||
行程(mm) | 16 | 25 | 40 | 60 | 100 | |||||||
配電動執行 機構型號 | 361LSA-20 | 361LSB-30 | 361LSB-50 | 361LSB-65 | 361LSB-99 | |||||||
輸入倍號 | 4-20mADC、1-5VDC | |||||||||||
電源 | AC220V 50HZ | |||||||||||
固有流量特性 | 線性、等百分比、快開 | |||||||||||
固有調比 | 30:1 | |||||||||||
泄漏等級 | IV | |||||||||||
法蘭尺寸 | 符合JB/79.1(2)-94、HG20592-97、GB、ANSI、JIS、DIN等標準 | |||||||||||
閥體材質 | WCB、304、316、WC6、鈦、鎳、哈氏合金、Monel等 | |||||||||||
閥芯材質 | 304、316、420、鈦、鎳、哈氏合金、Monel等 | |||||||||||
工作溫度℃ | -40~230 | |||||||||||
系列類型 | 常溫型、中溫型、波紋管密封型 | |||||||||||
注:本公司生產的三通調節閥通徑至DN400
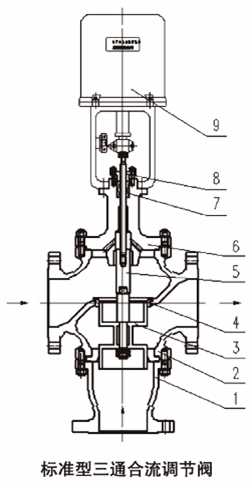
電動三通調節閥基本結構

序號 | 名 | 稱 |
1 | 接 | 管 |
2 | 閥 | 體 |
3 | 閥 | 芯 |
4 | 閥 | 座 |
5 | 閥 | 桿 |
6 | 閥 | 蓋 |
7 | 填 | 料 |
8 | 填料壓蓋 | |
9 | 執行機構 | |
電動三通調節閥技術參數:
型號 | 額定輸出力 | 速度mm/s | 技術參數 | ||||
PSL | 361L | PSL | 361L | PSL | 361L | PSL | 361L |
201 | 361LSA-08 361LXA-08 | 1000 | 800 800 | 0.25 | 4.2 4.2 | 電源;AC220V 50HZ 輸入信號:DC4-20mA DC1-5V (信號線用屏蔽線) 輸出信號:DC4-20mA 防護等級:IP67 帶手輪 | 電源:AC220V 50Hz 輸入信號:DC4-20mA DC1-5V (信號線用屏蔽線) 輸出信號:DC4~20mA 防護等級:IP65 隔爆標志Exd ll 帶手柄 |
202 | 361LSA-20 361LXA-20 | 2000 | 2000 2000 | 0.50 | 2.1 2.1 | ||
204 | 361LSA-30 361LXA-30 | 4500 | 3000 3000 | 0.50 | 3.5 3.5 | ||
208 | 361LSA-50 361LXA-50 | 8000 | 5000 5000 | 1.00 | 1.7 1.7 | ||
312 | 361LSC-65 | 12000 | 6500 | 0.60 | 2.8 | ||
320 | 361LSC-99 | 20000 | 10000 | 1.0 | 2.0 | ||
注:其它可選電動執行機構:揚州西門子、英國羅托克等
電動三通調節閥性能指標
項目 | 指標值 | ||
基本誤差% | 配361L±2.5;;配PSL±1.0 | ||
回差% | 配361L±2.0;;配PSL 1.0 | ||
死區% | 配361L±3.0配PSL 1.0 | ||
始終點偏差% | 電開 | 始點 | ±2.5 |
終點 | ±2.5 | ||
電關 | 始點 | ±2.5 | |
終點 | ±2.5 | ||
可調范圍 | 50: 1 | ||
額定行程偏差% | +2.5 | ||
泄漏量 | 符合JB/T7387-94 IV級 小于閥的額定容量x10 -4 | ||
電動三通調節閥外形尺寸及重量
公通通徑DN | 25 | 32 | 40 | 50 | 65 | 80 | 100 | 125 | 150 | 200 | 250 | 300 | |
L | PN16 | 185 | 200 | 220 | 250 | 275 | 300 | 350 | 410 | 450 | 550 | 670 | 770 |
PN40 | 190 | 210 | 230 | 255 | 285 | 310 | 355 | 425 | 460 | 560 | 740 | 803 | |
PN64 | 200 | 200 | 240 | 265 | 295 | 320 | 370 | 440 | 475 | 570 | 752 | 819 | |
H1 | 135 | 152 | 165 | 180 | 200 | 220 | 222 | 265 | 322 | 362 | 508 | 563 | |
A | 225 | 310 | |||||||||||
H常溫 | 555 | 561 | 660 | 675 | 863 | 868 | 872 | 905 | 920 | 950 | 1203 | 1265 | |
H中溫型 | 707 | 709 | 812 | 827 | 1027 | 1032 | 1036 | 1120 | 1135 | 1165 | 1485 | 1557 | |
重量 (PN64常溫) | 50 | 55 | 70 | 78 | 110 | 120 | 150 | 180 | 310 | 410 | 650 | 810 | |
電動三通調節閥外形尺寸及重量
公通通徑DN | 25 | 32 | 40 | 50 | 65 | 80 | 100 | 125 | 150 | 200 | 250 | 300 | |
L | PN16 | 185 | 200 | 220 | 250 | 275 | 300 | 350 | 410 | 450 | 550 | 670 | 770 |
PN40 | 190 | 210 | 230 | 255 | 285 | 310 | 355 | 425 | 460 | 560 | 740 | 803 | |
PN64 | 200 | 200 | 240 | 265 | 295 | 320 | 370 | 440 | 475 | 570 | 752 | 819 | |
H1 | 135 | 152 | 165 | 180 | 200 | 220 | 222 | 265 | 322 | 362 | 508 | 563 | |
A | 225 | 310 | |||||||||||
H常溫 | 555 | 561 | 660 | 675 | 863 | 868 | 872 | 905 | 920 | 950 | 1203 | 1265 | |
H中溫型 | 707 | 709 | 812 | 827 | 1027 | 1032 | 1036 | 1120 | 1135 | 1165 | 1485 | 1557 | |
重量 (PN64常溫) | 50 | 55 | 70 | 78 | 110 | 120 | 150 | 180 | 310 | 410 | 650 | 810 | |











?公司郵箱登入
?
浙公網安備33032402002441號